GM veut ressusciter le moteur deux-temps
À moins d’être passionné de motocross, il est fort probable que vous n’ayez pas touché un moteur deux-temps depuis des décennies. Leur simplicité mécanique, associée à une explosion à chaque tour complet, en faisait des moteurs nerveux, légers et bruyants. Cependant, ils ont disparu de nos routes en raison d’émissions beaucoup trop élevées.
Voilà que General Motors (GM) surprend tout le monde avec un nouveau brevet consacré… à un moteur deux-temps. Le document mentionne expressément une utilisation dans des véhicules hybrides, ce qui soulève immédiatement une question : GM cherche-t-elle sérieusement à ramener cette technologie dans le monde moderne ?

Un brevet axé sur la durabilité, pas sur les émissions
Le brevet de GM ne s’attaque pas directement au principal défaut historique des deux-temps : les quantités massives d’hydrocarbures non brûlés expulsés par l’échappement. À la place, il met de l’avant un nouveau système de soupapes linéaires destiné à réduire l’usure des segments de piston, ce qui améliorerait la durée de vie d’un moteur traditionnellement capricieux en entretien.
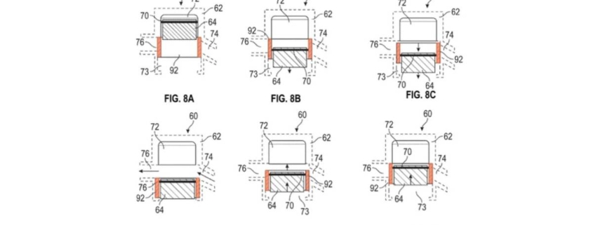
Dans un moteur deux-temps classique, les ports d’admission et d’échappement sont usinés directement dans la paroi du cylindre. Le déplacement du piston les ouvre et les ferme, tout en contribuant à la circulation du mélange air-carburant. GM, pour sa part, propose de recouvrir ces ouvertures par un système de valves qui coulisse à l’intérieur du cylindre, complètement aligné avec la paroi. L’objectif est d’éviter que les segments ne frottent sur des orifices ouverts, ce qui pourrait améliorer l’étanchéité et la compression avec le temps.
Des soupapes dans un deux-temps : pas une première
Ce concept n’est pas totalement révolutionnaire. On a déjà vu des moteurs deux-temps équipés de clapets (appelés reed valves) ou de valves rotatives comme chez Rotax. Ici, les soupapes linéaires offrent une modulation légèrement plus fine du calage, puisqu’elles peuvent fonctionner indépendamment du mouvement du piston.
Mais plus important encore : GM montre dans son brevet que les valves d’admission et d’échappement se déplacent de manière synchronisée. Cette synchronisation favorise le scavenging — le balayage du cylindre pour maximiser l’air frais — mais elle ne règle pas l’enjeu des émissions. C’est ce qui a condamné les deux-temps modernes… et rien dans ce brevet n’indique que GM dispose déjà de la solution miracle.
Un futur réaliste ou un simple exercice d’ingénierie ?
Il est possible que GM prépare une technologie complémentaire qui pourrait rendre un deux-temps conforme aux normes EPA actuelles. Peut-être un système d’injection ultra-précis, un catalyseur avancé, ou une hybridation permettant de réduire les charges polluantes.
Mais si l’on se fie uniquement à ce brevet, on est encore très loin du jour où le fameux son « ring-ding-ding » fera son retour dans un stationnement nord-américain.

Contenu original de auto123.
Le texte GM veut ressusciter le moteur deux-temps provient de L’annuel de l’automobile – Actualité automobile
Autres articles de Benoit Charette:
Merci à notre partenaire Benoit Charette pour sa contribution à Canada Motor Jobs





